Ten boj trvá snad už od té doby, kdy se na prknech přestalo jezdit naboso a ačkoli se různí výrobci předhánějí v mutantech obou konstrukcí ( STI Fusion, Wafflecup atd.), ustálily se v zásadě dva hlavní směry, kterými se dá vyrobit podrážka skate boty – prošívaná (cuposle) podrážka, nebo lepená (vulkanizovaná).
Obě konstrukce mají svá pro a proti a záleží jen na vás, v čem by měla vaše skate bota vynikat, aby co nejlíp fungovala. V zásadě se dá ale říct, že fungování cupsole a vulkanizované podrážky nebude nikdy úplně stejné, ačkoli se v současnosti přiblížily víc než kdy předtím.
![]() |
| Klasický prošitý cupsole – éS Accel |
Co je tedy cupsole podrážka? Charakteristickou vlastností cupsole konstrukce je litá forma svrchní vrstvy podrážky boty. Do té se pak zasadí, přilepí a někdy ještě přišije svršek boty. Odtud pochází anglický název cup čili hrnek, který v sobě drží „obsah boty“. Největší výhodou cupsole bot je pak lepší opora nohy než u vulkanizovaných bot, protože skrze přištý bok je bota pevněji spojena s podrážkou. Lepší oporu pak ocení skateři zejména při „větších věcech“ jako je skákání schodů nebo obecně dopadů z vyšší výšky, kdy hrozí zvrtnutí kotníku nebo odražení pat. Proti tomu taky chrání cupsole líp než vulkanická bota, protože umožňuje snažší integraci gelu do pat nebo po celé délce boty. Výsledkem pak bývá tenčí vyndavací vložka v botě, která kompenzuje hlavní nevýhodu cupsole bot a tou je horší „boardfeel“ (dá se tohle slovo vůbec smysluplně přeložit do češtiny?). Díky své tvrdosti můžou cupsole boty například při tricích na zemi v menší rychlosti působit trošku necitlivě a neohrabaně, přinejmenším před jejich vyšlápnutím.
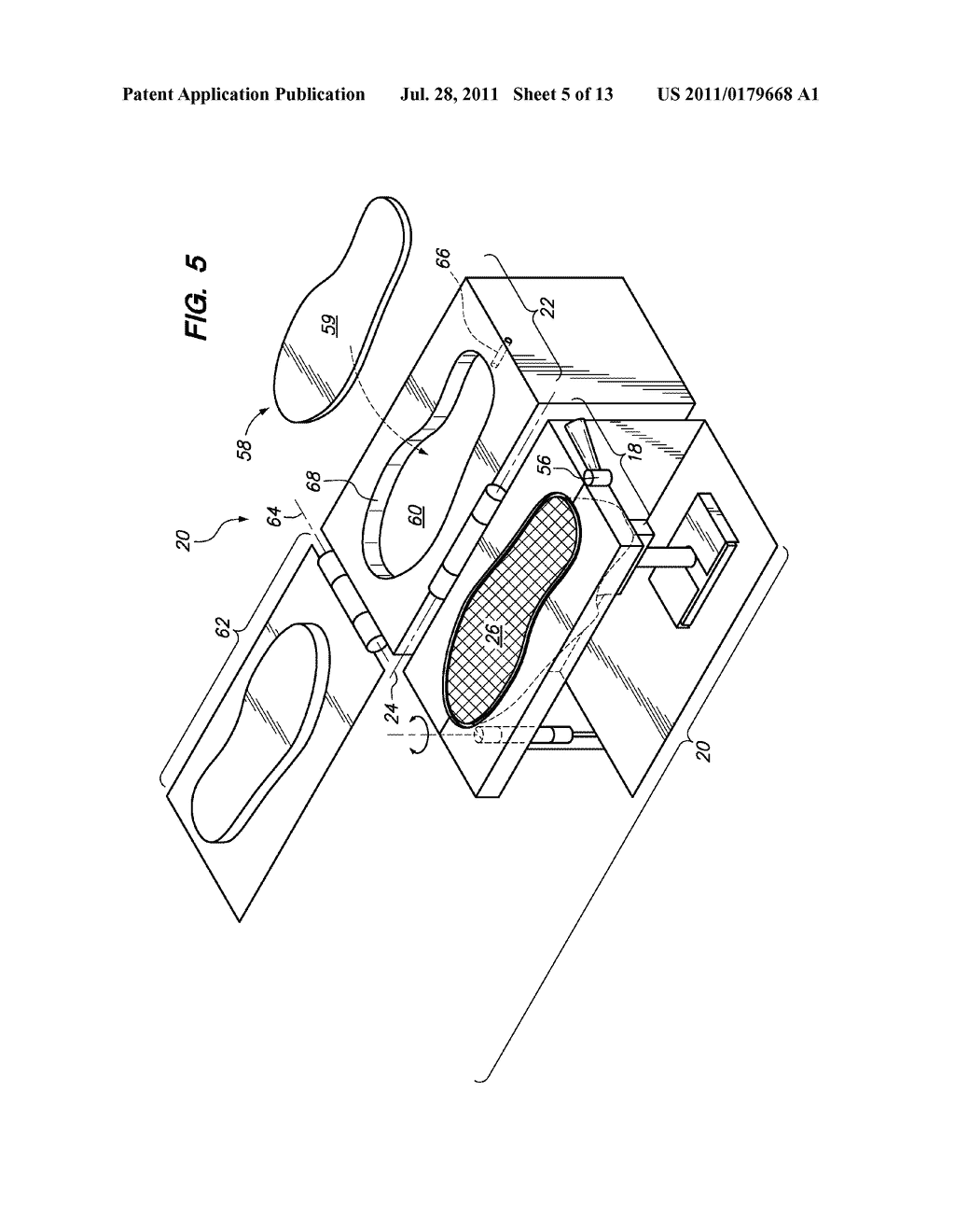
![]() |
| Příloha patentu jak vyrobit vulkanizovanou podrážku |
A jak je na tom vulkanizovaná konstrukce a v čem vlastně spočívá? Patent na tenhle způsob výroby, myslím, vlastní jistý pán jménem Steve van Doren, který není nikým menším, než vlastníkem Vansu. Tajemství výroby, které od „vaflí“ převzal celý svět, tkví v slepení vrstev podrážky, střední vrstvy a samotné boty, přelepení gumovým páskem kolem dokola a její závěrečné zatavení v peci procesem vulkanizace – odtud název technologie. Střední vrstva mezi botou a podrážkou je kvůli slabší vazbě tenčí než u cupsole bot což na jedné straně přináší benefity ve formě citlivější boty, ale vybírá si svou daň v menších možnostech ochrany nohy. Z toho důvodu mívají vulkanizované boty poměrně tlustou vnitřní vložku ve stélce, aby kompenzovala chybějící materiál v podrážce. Kvůli tlustší vložce mají vulkanizované boty také nižší míru ochrany nohy ve smyslu stability do strany, která zvyšuje riziko zvrtnutí kotníku, protože vložka drží v botě de facto pouze vaší vlastní vahou a při nárazu do strany se může snáze posunout a následky si můžete domyslet sami.
Způsob jak se vulkanizovaná bota vyrobí ukazuje hezky video od Lando footwear.
Tak to je zhruba vše, co se dá v krátkosti říct o výhodách a nevýhodách jednotlivých konstrukcí. Tenhle článek si neklade za cíl soudit a přesvědčovat lidi o správnosti používání vulkaniky nebo cupsole bot. Každý způsob má svoje velká pro a je jen na vašem konkrétním posouzení, jak velké mínusy pro vás znamenají jejich nedostaky. Obecně se dá asi říct, že skateři jezdící tzv. „high-impact“ skateboarding budou preferovat spíše cupsole stejně jako jezdci, kteří třeba už v miunlosti prošli vážnějším zraněním nohy, protože cupsole jim poskytuje lepší ochranu nohy před nárazy. Skateři, kteří se soustředí na „low-impact“ skateboarding budou zase spíš preferovat vulkanizované citovky, které jim umožní maximální kontrolu prkna při flip tricích nebo naopak při jízdě v bazénu, kde je boardfeel taky hodně potřeba. Tím jsme popsali černou a bílou možností konstrukce skate boty. Většina bot na trhu se ale pohybuje někde v „odstínech šedi“, takže je třeba zvolit kombinaci, která vám vyhovuje nejlíp.
Na závěr ještě „2 odstíny šedé“ stojící buď napůl mezi cupsole a vulkanikou nebo úplně mimo:
- STI Fusion – technologie lité střední vrstvy za tepla nahrazující lepidlo. De facto je pásek kolem dokola pouze z estetického důvodu, aby bota nevypadala divně. Dle vlastních zkušeností má bota super boardfeel a je lehčí než klasická vulkanizovaná, takže plní to, co výrobce slibuje. Sole Tech představil STI Fusion asi před dvěma lety, ale navzdory poměrně velké kampani a funkčnosti systému, se po nějaké době začal vracet zpátky ke klasické vulkanizované konstrukci nebo jiným experimentům. Škoda…. http://stifusion.com/
- Wafflecup – technologie, se kterou přišel Vans zhruba před rokem. Jedná se o kombinaci obou konstrukcí. Kolem svršku boty se nalepí tenký pásek gumy a pak se celek vloží do speciálního cupsolu a zapeče se podobně jako klasická vafle. Konstrukce vypadá přinejmenším zajímavě a objevuje se u několika modelů v aktuální nabídce Vansu, ale na to, že by se začala šířit masově to zatím taky moc nevypadá….





2 komentáře: „Vafle vs. hrneček – vulkanizovaná podrážka nebo cupsole ?“